Given the rapid popularity of wearables such as smartwatches, fitness trackers, and earbuds, automakers such as Toyota and Ford are exploring new use cases to provide value to their customers by integrating new user interfaces and notification systems in the vehicles.
Although many automakers are looking to incorporate bio authentication systems using wearables, Toyota is actually exploring how to incorporate driver’s health data into different use cases.
Related Reading
- Apple discloses a Virtual Reality System for vehicles that could add to its services revenue
- 5 Best Smart Gadgets under $50 for your older vehicle
- Home Connect offers exciting home automation for wearOS, Apple Watch, and Fitbit users
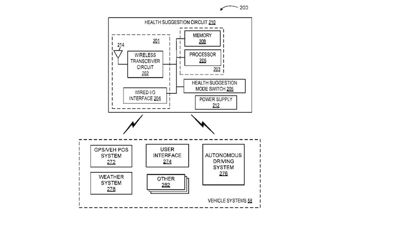
According to a new patent filing by Toyota, US10,937,539, approved this week, the automaker is exploring how it can collect health data for a vehicle occupant, and then based on the vehicle’s location and the collected health data, it can offer different activity suggestions.
The patent ‘Automated activity suggestions based on wearable connectivity with vehicle systems’ highlights some interesting health-based used cases that could become real in the near future as autonomous driving gains popularity. 
Here are the top 5 different ways in which your next car from Toyota could interface with your health information and provide value:
- Get your steps in at the nearby park: In some embodiments, when suggesting the activity, the vehicle may consider the vehicle’s location. For example, the vehicle may identify a park near the vehicle’s location and suggest the wearer take a walk at that park. The system may also be configured such that the vehicle determines directions to the park and provides those directions to the wearer, such as on a turn-by-turn navigation system.
- In some embodiments, when suggesting the activity, the vehicle may consider a health data threshold. In such embodiments, the health data threshold may represent a health or exercise goal of the wearer. For example, the threshold may represent a minimum number of steps the wearer should take during a day. In this example, the vehicle may suggest the wearer take a walk when the number of steps taken by the wearer falls below the threshold number of steps.
- Leverage less stressful routes with little traffic: Toyota’s research also highlights how the vehicle system can track stress data via heart rate metrics of the driver and, depending upon stress levels, offer alternative routes ( scenic routes with less traffic) for stress reduction or even offer suggestions for your favorite restaurant with turn-by-turn directions if your blood sugar levels are low.
- Route optimization for high blood glucose levels: In another example, where the vehicle operator has diabetes, the vehicle may store blood glucose thresholds for the wearer. When the vehicle determines that the wearable device’s health data indicates a blood glucose level exceeding the blood glucose thresholds for the wearer, the vehicle will suggest insulin therapy by suggesting a convenient location for the insulin therapy. For example, the vehicle may direct the wearer to a nearby highway rest area, a clinic, or the like.
- Seizure detection and autonomous driving: If the wearable has an epidermal sensor and can detect a driver’s seizure incidents, the autonomous mode can kick in and either take the driver to a safe location or drive to the nearest emergency facility. Vehicle makers are thinking about how they can leverage autonomous driving for emergency health situations.
Other use cases described in the patent include sleep detection/tiredness of a driver and, based on it, take appropriate steps to mitigate emergencies.
Toyota is not alone in thinking about extrapolating wearables data into its vehicle platforms. Ford has also been looking at using wearables to help with bio authentication for drivers of autonomous vehicles. Tesla recently bought a wearable company (probably for the patents), and Hyundai is actively looking at wearables.
Most of these use cases may appear very ‘distant in future’ type. With the rapid developments in autonomous vehicle systems and wearables for health monitoring, it is not far-fetched to think that your next-generation vehicle / wearable experience will incorporate much more than the basic navigation and communication systems.






