Apple has revealed a new method for measuring blood pressure using a cuff with limited pressurization. The idea behind this patent is to allow for a better blood pressure monitoring system during night time.
Contents
Related Reading:
- Apple’s new trademark reveals potential blood pressure monitoring and additional fitness and health offerings
- Is Apple’s approach to Blood Pressure monitoring via Apple Watch different than that of Samsung’s
- 5 Best Blood Pressure Apps For Monitoring and Tracking
- 3 Best Blood Pressure Monitors to Use With Apple’s Health App
- Apple’s new automated wake detection feature to help disable sleep alarms
Challenges with measuring blood pressure during nighttime
The clinical usefulness of ambulatory blood pressure monitor is well established.
Nocturnal blood pressure values are particularly telling when measured effectively. Unfortunately, currently available devices are uncomfortable and greatly disturb sleep.
The intermittent cuff inflations are especially uncomfortable for hypertensive patients since traditional blood pressure (BP) measurement techniques require pressurizing the cuff beyond systolic pressure.
The sleep disturbance harms the patient to some extent and potentially changes their blood pressure.
This user friction also makes it less likely that patients would tolerate frequent ambulatory BP measurements. Thus, improvements to traditional ambulatory blood pressure measurement remain of interest.
Apple’s approach using limited cuff based pressure
Signals are measured during a sweep of applied cuff pressure.
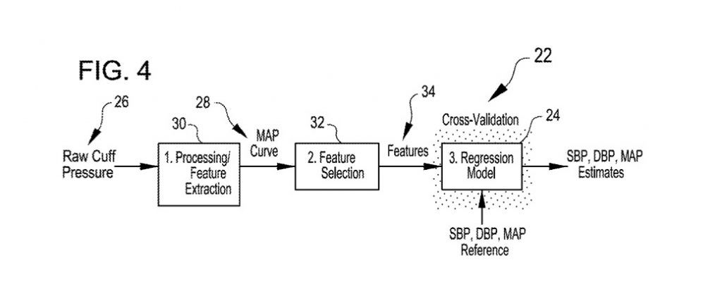
A set of such signal features with pressure values, collected as the cuff pressure is increased or decreased, forms a feature vector that can estimate the user’s blood pressure.
For example, in some embodiments, the systolic blood pressure of the patient, the diastolic blood pressure of the patient, and/or the mean arterial blood pressure of the patient are estimated using an algorithm(s) that employs the pressure data of the blood pressure cuff and collected physiological signals to create a feature vector used as input data.
Moreover, in many instances where the patient has high systolic blood pressure, the patient’s systolic blood pressure can be estimated using a maximum inflation pressure of a blood pressure measurement cuff that is lower than the patient’s systolic blood pressure, thereby enhancing the ability to measure the patient’s systolic blood pressure. In contrast, the patient sleeps without impacting the patient’s blood pressure.
For example, the maximum inflation pressure of the blood pressure measurement cuff can be about 130 mmHg. The patient’s estimated systolic blood pressure can be higher than 130 mmHg (e.g., 180 mmHg).
Traditional methods would require inflation of the blood pressure cuff to above 180 mmHg, leading to greater discomfort during use.
The feature vector data can include photoplethysmogram (PPG) sensor data derived from an output signal of a photoplethysmogram (PPG) sensor.
The PPG sensor data can be derived from the PPG sensor’s output signal for any suitable pressurizations of the blood pressure cuff.
For example, the PPG sensor data can be derived from the PPG sensor’s output signal at respective average pressures of the blood pressure cuff. 
By combining the data from the existing PPG (Optical sensors) on the watch and a new band designed as a cuff, the new design can measure blood pressure without applying too much pressure on the cuff.
The patent highlights the use of different algorithms to combine the various data points to calculate the user’s correct blood pressure.
The Apple Patent, 0200383579, was filed recently on May 4th, 2020, and approved today.






